返回列表 发布新帖
查看: 40|回复: 0

小装置破解工程测量痛点放样效率提升30%

发表于 2025-11-22 11:32:12 | 查看全部 |阅读模式

马上注册!

您需要 登录 才可以下载或查看,没有账号?注册

×

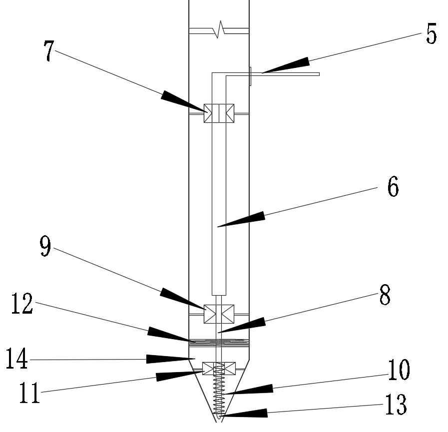
工程建设中,测量放样是决定施工精度的核心环节,从模板定位到钢筋预埋,精准点位标记缺一不可。但传统全站仪棱镜放样时,测量人员需先移开棱镜,再下蹲或依赖他人配合寻找棱镜尖位置标记,不仅易因人员操作、光线遮挡、作业面限制等因素产生点位偏差,还需反复核对调整,既浪费人力又影响施工进度。

针对这一痛点,中铁六局北京公司职工张金星带领团队研发了一款快速定点测量放样的棱镜对中杆装置,用轻量化创新设计破解了这一难题。该装置无需改变现有全站仪设备参数,通过优化结构设计,实现了“测量——标记”一体化操作,让小创新发挥大效用,并获得国家级实用新型专利认证。

装置采用“觇板-棱镜-对中杆-支架”的稳定结构,各部件均适配常规测量设备,无需额外适配即可投入使用。核心创新在于内置的“按压-传动-复位”标记系统:按压杆与记号笔延长杆直接相连,记号笔通过导向结构垂直嵌入压缩弹簧内,形成闭环传动。当全站仪精准定位点位后,操作人员无需移动棱镜,只需按压对中杆下方的按压部件,记号笔便会克服弹簧反作用力,精准落在放样点位上完成标记,松开后自动复位,整个过程瞬间完成。

同时,装置配备可拆卸式记号笔更换结构,油墨耗尽或笔尖损坏时,拧下螺纹连接部件即可快速更换,不耽误测量进度。1.5mm线幅的记号笔搭配下方2mm开孔设计,进一步确保了标记的清晰精准。

这款“小装置”带来了工程测量的“大改变”。精度上,避免了棱镜位移、人工找点等环节的误差,标记点位与实际放样点位完全一致,适配高精准度施工需求;效率上,单人即可操作,省去移棱镜、下蹲找点、反复核对等步骤,经实际工程验证,测量放样效率提升30%以上;成本上,所用部件均为常规材质,制作成本低廉且坚固耐用,普通测量人员经过短时间指导就能熟练操作,无需额外培训投入。 (工人日报客户端记者 赖志凯 通讯员 张金星)



回复

使用道具 举报

您需要登录后才可以回帖 登录 | 注册

本版积分规则

关注公众号
QQ会员群

Copyright © 2021-2026 中企互动平台 版权所有 All Rights Reserved.

相关侵权、举报、投诉及建议等,请发 E-mail:bztdxxl@vip.sina.com

Powered by Discuz! X3.5|京ICP备10020731号-1|京公网安备 11010102001080号

关灯 在本版发帖
扫一扫添加管理员微信
返回顶部
快速回复 返回顶部 返回列表